Доставка по России и СНГ

Низкочастотный ультразвуковой сканер-топограф А1050 PlaneScan

Артикул: 1022

А1050 PlaneScan – эффективный и простой в использовании ультразвуковой прибор для неразрушающего контроля обшивки летательных аппаратов.

Описание

А1050 PlaneScan – эффективный и простой в использовании ультразвуковой прибор для неразрушающего контроля обшивки летательных аппаратов.

Назначение

Сканер-топограф используется в авиастроительной отрасли для проверки состояния панелей, окрашенных и неокрашенных алюминиевых или углепластиковых листов, а также подобных им изделий.

Контроль проводится путем прозвучивания поверхностей с помощью 12-элементной линейной антенной решетки. Она состоит из УЗ-преобразователей с катящимся сухим точечным контактом (КСТК). Благодаря этой АР, сканирование крупногабаритной обшивки происходит непрерывно, при этом предварительная подготовка поверхности не требуется.

Изменение характеристик волны Лэмба в каждой точке поверхности дает возможность найти расслоения в углепластиковых панелях, повреждения в сотовых панелях, а также покрытые коррозией листы.

Конструкция прибора

  • Конструкция основана на методе передачи колебаний от пьезоэлемента к поверхности объекта и обратно через тонкий промежуточный слой твердого материала.
  • Конструкция выполнена на базе латунного обода колеса, внутри которого расположена активная часть преобразователя.
  • Отполированная внутренняя поверхность обода обеспечивает низкий уровень шумов в сигнале, который появляется в результате скольжения контактного наконечника активной части преобразователя по поверхности обода.
  • В корпусе электронного блока располагается вилка колеса, которая двигается возвратно-поступательно в пределах 1 см. Постоянный прижим обода и преобразователей к исследуемой поверхности создается с помощью пружин (см. Рис.1).
  • Прозвучивание материала осуществляется парой УЗ-преобразователей, которые размещены с расстоянием 3 см между их центрами и образуют 12-элементную линейную антенную решетку.
  • АР покрывает исследуемую поверхность полосой просканированного пространства. Она имеет 11 линий сканирования, расположенных параллельно и отстоящих друг от друга на 2 см. Общий размер изображения – 220 мм.
  • Сканер-топограф выполнен в виде моноблока прямоугольной формы. Он состоит из антенной решетки, системы управления, компьютера, встроенной памяти и блока питания (см. Рис.2).
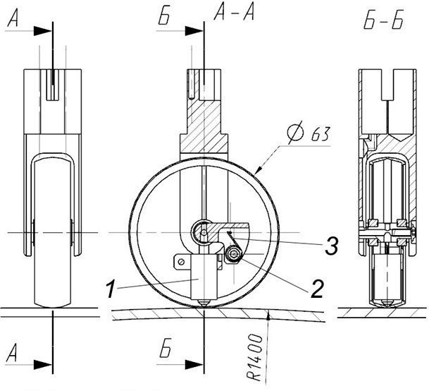
  • Антенная решетка размещена внизу прямоугольного корпуса с ручками, за которые оператор держит моноблок. Все элементы АР имеют независимую подпружиненную подвеску, что дает возможность передвигать их вдоль своих продольных осей и проводить контроль как плоских поверхностей, так и вогнутых или выпуклых с минимальным радиусом кривизны 1400 мм (см. Рис.3).
  • Моноблок имеет 4 опорных колеса. Элементы антенной решетки прижимаются к материалу независимо друг от друга. Сила прижатия зависит от внутренних упругих устройств элементов (см. Рис.4).
  • Одна пара опорных колёс неподвижна. Другая пара закреплена на оси, что дает ей возможность поворачиваться вокруг неё в малых пределах. Благодаря этому, моноблок сохраняет свою устойчивость при контроле поверхностей любой формы.
  • В центре лицевой части измерительного блока располагаются экран и две клавиатуры с большим числом функциональных кнопок. Система управления дает возможность настроить необходимые параметры контроля, просматривать изображения, сохранять их в памяти, выполнять анализ и т.д.
Рис 1 Рис 2 Рис 3 Рис 4

Принцип действия

  • Сканер-топограф работает по методу анализа свойств УЗ-сигналов, которые проходят по исследуемому материалу на небольшом участке между каждой парой соседних преобразователей, образующих линейную АР.
  • Изменение характеристик принятого сигнала (амплитуды, формы, полярности и других), позволяет выделить сигналы, прошедшие в тех частях обшивки, где имеются дефекты.
  • Обработка принятых сигналов предполагает отделение полезного сигнала от шумов, измерение или оценку информативных параметров, а также их цветовую визуализацию на экране прибора.
  • В результате анализа принятых колебаний от каждой точки изучаемой поверхности с дискретностью 5 или 10 мм в памяти устройства сохраняется три параметра от пар соседних элементов АР. Каждая из них дает строку изображения (из точек), в которых содержатся данные о характеристиках поверхности.
  • На дисплее показывается время задержки полезного сигнала. Оно зависит от толщины, текстуры и других характеристик исследуемого материала. Время задержки обозначается цветами – синим (малое) и красным (наибольшее).

Характеристики

Основные характеристики

  • Тип дисплея
    TFT, 5,7″, цветной
  • Продолжительность непрерывной работы, не менее, ч
    8
  • Масса электронного блока прибора, не более, г
    7500
  • Рабочая температура окружающей среды, °С
    От -20 до +50
  • Количество элементов АР
    12
  • Диапазон частот преобразователя, кГц
    50-100
  • Частота зондирования, Гц
    200
  • Время задержки сигнала в преобразователе, мкс
    6
  • Минимальный размер обнаруживаемого отражателя
    Цилиндрическое расслоение диаметром 30 мм на глубине 1 мм, продольная трещина (вдоль направления сканирования) длиной 5 мм на глубине 5мм
  • Скорость сканирования, мм/с
    100
  • Скорость распространения ультразвука, м/с
    5000
  • Габаритные размеры, без ручек, мм
    420х170х205
  • Габаритные размеры, с ручками, мм
    465х170х205

Модификации

Модель Диапазон измерения глубины залегания дефекта, мм Размер томограммы, точек Шаг реконструкции томограммы, мм
Высокочастотный ультразвуковой дефектоскоп-томограф А1525 Solo 2 – 300 256 x 160 0,1 – 2,0
Высокочастотный ультразвуковой дефектоскоп-томограф А1550 IntroVisor 2 – 300 256 x 160 0,1 – 2,0
Низкочастотный ультразвуковой томограф A1020 MIRA Lite
Низкочастотный ультразвуковой томограф А1040 MIRA От 5 до 400 (воздушный цилиндр диаметром >20 мм, длиной >200 мм)
Низкочастотный ультразвуковой томограф A1040 MIRA 3D
Низкочастотный ультразвуковой сканер-топограф А1050 PlaneScan